山東萬象環境科技有限公司
聯系人:周經理
銷售電話:19853697985
銷售QQ:3836021633
公司地址:山東省濰坊高新區新城街道玉清社區光電路155號濰坊高新區光電產業加速器(一期)1號樓301

聯系人:周經理
銷售電話:19853697985
銷售QQ:3836021633
公司地址:山東省濰坊高新區新城街道玉清社區光電路155號濰坊高新區光電產業加速器(一期)1號樓301

浮標水質在線監測站又稱浮標水質監測站,水質浮漂監測站,浮標水質在線監測站搭載了高精度的水質傳感器,能夠精準捕捉水質各參數變化情況,確保監測數據的準確性和可靠性,可應用在工農業生產、旅游、城市環境監測、地質災害、防洪、供水調度、電站水庫水情管理等為目的水文自動測報系統
1.水質浮漂監測站SFA集數據采集、存儲、傳輸和管理于一體的無人值守的采集系統。它在工農業生產、旅游、城市環境監測、地質災害、防洪、供水調度、電站水庫水情管理等為目的水文自動測報系統;功能強大的上位機軟件可遠程觀測實時水雨情信息,具有數據庫、報表、下載等功能,用戶還可利用該功能完善的氣象軟件對記錄的數據作進一步的處理分析。
2.SFA04款浮標是由水質傳感器(水溫、電導率、PH、溶解氧)、數據采集儀、通訊系統、供電系統、整體 支架、水質監測平臺六部分組成。同時可擴展氨氮、 濁度、COD等多項水質要素。數據采集儀具有數 據采集、實時時鐘、數據定時存儲、參數設定和標準2G/4G(GPRS)通信功能。
二、產品特點
1.易部署:各類型探頭進行高度集成,安裝方便;提供免費云平臺服務,系統快速上線;
2.易維護:設備安裝后,自行工作即可,無需人工值守,也可以通過遠程監控的方式保障設備的正常運行;
3.易擴展:傳感器探頭均使用統一的通信協議,可以快速對接原設備,快速擴展監測參數;
4.低功耗:設備可以實現低功耗狀態下,長時間運行,增加設備使用的便利性;
5.實時性:設備監測到的數據實時傳輸至云平臺,提升環境數據反饋的及時性。
三、技術參數
1. 主體參數
產品名稱 | 描述 |
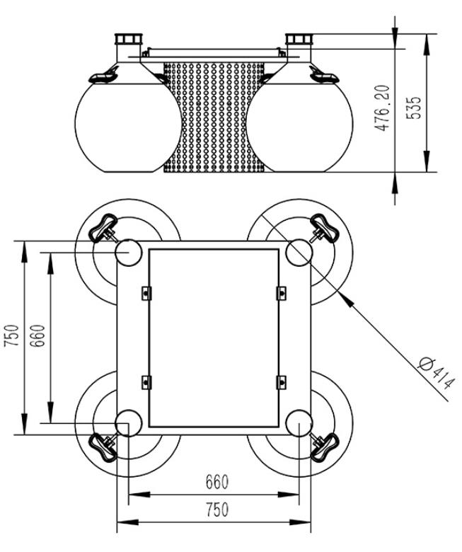
環境水質監測浮標 | 可實時實現多路參數在線監測。 可實現電池電量監控。 可實現云平臺數據監控、數據推送、 數據的存儲和報警功能;數據的無線發射功能。 峰值功耗為 5W;傳感器功耗 0.25W左右/只。 外形尺寸:750mm*750mm*535mm。浮球直徑414mm 重量:22kg |
采集器數據采集 | 運行可靠,抗干擾,可集成多路RS485/MODBUS-RTU 從站設備 |
采集器數據輸出 | 1 路 Rs485/JSON協議輸出 |
電池 | 鋰電池 12VDC,20AH(默認) |
太陽能電池板 | 22.1V/50W(默認) |
供電能力 | 定制選型;陰雨天間歇工作 5天以上 |
位置指示 (選配) | 警示燈;GPS 定位; |
監測平臺 | 云平臺;手機/電腦多終端登錄 |
防護罩 | 304 不銹鋼濾筒防護罩 |
浮體 | 直徑414mm 球形浮體*4工程塑料 |
2.可選配傳感器的主要參數
| 序號 | 名稱 | 測量范圍 | 測量原理 | 測量精度 | 是否標配 | 備注 |
| 1 | 溫度 | 0~50℃ | 高精度數字傳感器 | ±0.3℃ | ? | |
| 2 | pH | 0~14(ph) | 電化學(鹽橋) | ± 0.1PH | ? | |
| 3 | ORP | -1500mv~1500mv | 電化學(鹽橋) | ± 6mv | ||
| 4 | 電導率 | 0~5000uS/cm | 接觸式電極法 | ± 1.5% | ? | |
| 5 | 濁度 | 0~40NTU(低濁) | 散射光法 | ± 1% | 低濁可定制 | |
| 0~1000NTU(中濁) | 散射光法 | ± 1% | 中濁可定制 | |||
| 0~3000NTU(高濁) | 散射光法 | ± 1% | 默認發 | |||
| 6 | 溶解氧 | 0~20mg/L | 熒光壽命法 | ± 2% | ? | |
| 7 | 氨氮 | 0~100mg/l | 離子選擇電極法 | ±1mg | ||
| 8 | cod | 0~500mg/ L | UV254 吸收法 | ±5% | 默認發、cod濁度一體 | |
| 濁度 | 0~400NTU | 散射光法 | ± 1% | |||
| 9 | 懸浮物 | 0~2000mg/L | 散射光法 | ±5%(取決于污泥同質性) | ||
| 10 | 葉綠素 | 0~400ug/L | 熒光法 | R2>0.999 |
四、產品尺寸圖

五、設備安裝要求
1.遠離大功率無線電發射源
2.遠離高壓輸電線和微波無線電傳送通道
3.盡量靠近數據傳輸網絡
4.遠離強電磁干擾
六、云平臺介紹
1.CS架構軟件平臺,支持手機、PC瀏覽器直接觀測.無需額外安裝軟件。
2.支持多帳號、多設備登錄
3.支持實時數據展示與歷史數據展示儀表板
4.云服務器.云數據存儲,穩定可靠,易于擴展,負載均衡。
5.支持短信報警及閾值設置
6.支持地圖顯示、查看設備信息。
7.支持數據曲線分析
8.支持數據導出表格形式
9.支持數據轉發,HJ-212協議,TCP轉發,http協議等。
10.支持數據后處理功能
11.支持外置運行javascript腳本
二次供水是指單位或個人將城市公共供水或自建設施供水經儲存、加壓,通過管道再供用戶或自用的形式。在這個過程中,由于管道老化、二次污染等多種因素,水質可能會發生變化,甚至出現不符合飲用標準的情況。而WX-GSZ04二次供水水質在線監測系統,正是為了及時、準確地掌握二次供水的水質狀況而誕生的。...
WX-SFA04浮標式水質在線監測系統最大的優勢在于其連續性和實時性。無需人工干預,系統即可自動完成數據采集、處理、傳輸等流程,確保數據的準確性和時效性。一旦監測到水質異常,系統會立即發出警報,為管理部門提供及時、準確的決策依據,有效防止水質污染事件的擴散。除了基礎的數據監測外,該系統還具備強大的智能分析能力。通過大數據算法,對長期監測數據進行深度挖掘,預測水質變化趨勢,提前發現潛在污染風險。...
WX-QSZ03水質pH電導率在線監測系統,集成了高精度傳感器、數據采集單元、數據處理系統以及遠程通訊單元,實現了對水體pH值、電導率等關鍵參數的連續、實時、遠程監控。這種系統不僅能夠迅速響應水質變化,更通過智能分析系統,確保監測數據的準確無誤。相比傳統的手工取樣與實驗室分析,它如同一位不知疲倦的哨兵,24小時不間斷地守護著水質的每一個細微變化。...
萬象更新,蛇年大吉,萬象環境祝您和您的家人:新年快樂,闔家幸福!...
精準測量,誤差極?。簜鹘y的流量計往往需要與被測流體直接接觸,易受流體性質變化影響,而WX-L1多普勒超聲波流量計則通過發射和接收超聲波信號,利用多普勒頻移原理計算流速,實現了高精度測量,誤差率低至±1%,為水資源管理提供了可靠的數據支持。高效便捷,維護成本低:無需安裝復雜的管道系統,只需將傳感器安裝在流體外部,大大簡化了安裝流程,減少了后期維護成本。...
在傳統水質監測中,人工采樣、實驗室分析的方式耗時長、成本高,且難以實現實時監控。而WX-S9在線濁度儀傳感器的出現,徹底改變了這一現狀。它如同一雙智慧之眼,24小時不間斷地“凝視”著水流,通過光學或散射原理,精準測量水體中的濁度變化,并將數據實時傳輸至監測平臺,讓水質狀況一目了然。...